Товар добавлен в корзину
Блок экрана
3 товара|
Используйте |
Находите размеры |
|
|
|
|
|
Показано наименований:
3 из 3 товараМеняйте вид
показа товара!
| Марка изделий | Норматив. документ № серии, чертеж, ГОСТ, ТУ |
Размер (габариты) мм | Масса изделия, (кг) |
Цена, руб. с НДС |
Действия | ||
|---|---|---|---|---|---|---|---|
| Длина L | Ширина B | Высота H | |||||
|
|
|
|
|
|
|||
| Ф 264 блок экрана | Серия 3.501.1-144 | 3000 | 700 | 1200 | 3.800 |
от 34 339 |
|
| БФ 1 блок экрана | Серия 3.501.1-144 | 2000 | 700 | 1200 | 2.500 |
от 23 362 |
|
| Ф 267 блок экрана | Серия 3.501.1-144 | 4000 | 700 | 1200 | 5.000 |
от 44 855 |
|
от 34 339
от 23 362
от 44 855
Надежность превыше всего!
Закажите ЖБИ в компании ДСК-Столица!
- Поставка до объекта
- Работа по договору
- Любой железобетон под ваш проект
Блок экрана

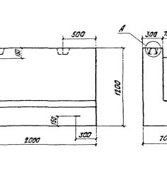
Блоки экрана длиной от 2000 до 4000 мм, шириной 700 мм и высотой 1200 мм. При изготовлении блоков экрана принято использовать рабочую арматуру периодического профиля из стали класса A-II или гладкую из стали класса A-I. Для монтажных подъемных петель применяется арматурная сталь класса A-I и класса A-II.
Применяются блоки экрана при строительстве водопропускных труб под насыпями автомобильных и железных дорог в умеренных и суровых (до -20 градусов) климатических условиях на периодически действующих и постоянных водотоках с отсутствием наледи в районах с повышенной сейсмической активностью до 9 баллов по шкале Рихтера.
ВНИМАНИЕ! Возможно изготовление блоков экрана по индивидуальным чертежам заказчика с особой степенью защиты, измененными характеристиками бетона и/или арматуры.
СРОК ПРОИЗВОДСТВА ОТ 1 ДО 7 ДНЕЙ!
Блоки экрана производятся согласно проектной документации Серия 3.501.1-144.1.
Для изготовления блоков экрана используется тяжелый бетон класса не ниже B20 (M250) с удельной плотностью от 1800 до 2300 кг/м3, отличающийся высокими коэффициентами морозоустойчивости и водонепроницаемости.
МЫ СДЕЛАЕМ ДЛЯ ВАС БЕСПЛАТНО:
- Расчет стоимости блоков экрана по вашим проектным чертежам;
- Консультация по блокам экрана;
- Оперативный расчет доставки;
- Выезд специалиста на строительный объект;
- Подписание договора у вас;
- Гибкая система предоплаты;
- Консультация по вашим чертежам с экспертом в области ЖБИ свыше 10 лет!
ДОСТАВКА - Собственный автопарк машин! Используем манипуляторы, краны и бортовые машины грузоподъемностью 5, 10, 20 и 40 тонн.
ГЕОГРАФИЯ ПОСТАВОК: Москва и Московская область, Белгород, Брянск, Владимир, Воронеж, Иваново, Калуга, Кострома, Курск, Липецк, Орел, Рязань, Смоленск, Тамбов, Тверь, Тула, Ярославль и другие города Российской Федерации.
ОПЕРАТИВНО - выполним расчет и доставку блоков экрана. Сертификаты качества на ЖБИ изделия гарантируем!
Доставим любую ЖБИ продукцию на ваши строительные площадки. Обращайтесь в компанию ДСК-Столица!
Маркировка блоков экрана
Маркировку блоков экрана типа БФ 1 следует читать как:
- БФ – блок противофильтрационного экрана
- 1 - типоразмер, включающий габаритные размеры и область применения
Выше представлена универсальная таблица блоков экрана, с помощью которой Вы можете воспользоваться удобным поиском по любым параметрам без перезагрузки страницы. Например, чтобы быстро найти блоки экрана первого типоразмера, введите в поле «Наименование» цифру 1 и нажмите Enter - в таблице отобразятся изделия с маркировкой БФ 1 и так далее. Для возврата обратно ко всем наименованиям в таблице, сотрите цифру 1 и опять нажмите Enter.
Если Вы хотите посмотреть все блоки экрана, которые доступны по наличию в табличном виде - оставьте поле «Наименование» незаполненным.
Для заказа сразу нескольких блоков экрана одного наименования, введите в поле «Кол-во» необходимое число изделий и нажмите кнопку «Купить». Выбранные товары сразу же окажутся в Вашей корзине.
Если Вам не удалось найти нужную маркировку блоков экрана по таблице, напишите нам в чат или оставьте заявку через мессенджер. Мы найдем необходимые товары и сразу свяжемся с Вами!
Блоки экрана - это элементы сборной железобетонной конструкции, которые используются при строительстве водопропускных труб под насыпями автомобильных и железных дорог. Сборные водопропускные сооружения предназначены для устранения пагубного воздействия ливневых и грунтовых вод на насыпь дорожного полотна в местах образования больших объемов воды или в случае прокладки дорожных магистралей через активный водоток. Водопропускные сооружения успешно помогают продлевать эксплуатационный срок дорожных насыпей. Основной задачей блоков экрана является предотвращение деформации, смещения, просадки или разрыва элементов водопропускного канала под насыпями дорожного полотна глубиной до двадцати метров, а также выполнение функций противофильтрационной защиты. Достигается это с помощью крепкой фиксации частей водопропускного канала на блоки экрана.
Внешне блоки экрана представляют собой массивные ЖБИ изделия L-образной формы. Для удобства транспортировки и монтажа блоков экрана, в их конструкции предусмотрено наличие монтажных петель. Укладываются блоки экрана на входе и выходе дренажной системы под звеньями оголовков или же устанавливаются в центральной части водопропускной трубы под блоки фундамента. Бурные потоки воды, проходящие через водопропускной канал могут быстро привести к разрушению основания водовода, в связи с чем, требуется установка блоков противофильтрационного экрана с целью укрепления входной группы водопропускного канала. Блоки экрана являются важной частью водопропускного сооружения. Прочность бетона, из которого изготавливаются блоки экрана, позволяет успешно противостоять динамическим воздействиям, поступающим от проходящего по дорожной магистрали транспорта, а также потоков воды протекающих через водопропускную конструкцию. ЖБИ изделие благополучно переносит низкие и высокие температуры, а также имеет повышенное сопротивление растрескиванию и гниению.
Технические характеристики блоков экрана
Прочность ЖБИ изделий зависит не только от технологии производства, но и от качества материалов, которые используются при их изготовлении. Блоки экрана принято изготавливать из тяжелого бетона класса не ниже B20 (M250) по прочности на сжатие. Тяжелый бетон традиционно используется для производства ЖБИ изделий с высокой расчетной нагрузкой, так как обладает достаточной прочностью, хорошо противостоит растрескиванию и имеет высокий уровень водонепроницаемости. Кроме этого в бетонную смесь могут быть добавлены специальные присадки, улучшающие эксплуатационные характеристики готового ЖБИ изделия, а также повышающие его гидрофобную защиту. Морозостойкость бетона назначается в зависимости от климатических условий в районе эксплуатации и варьируется от F200 до F300. Класс водонепроницаемости также подбирается исходя из конкретных требований проекта и варьируется в пределах W6-W10. Для повышения прочностных характеристик блоков экрана принято использовать рабочую арматуру периодического профиля из стали класса A-II или гладкую из стали класса A-I. Для монтажных подъемных петель применяется арматурная сталь класса A-I и класса A-II. Соединение стержней в каркасе производится с помощью контактной точечной электросварки. Все металлические элементы в обязательном порядке проходят антикоррозийную обработку, что позволяет продлить срок службы железобетонных изделий в условиях агрессивной среды.
Производство блоков экрана
Производством блоков экрана занимаются сертифицированные ЖБИ заводы, дилерами которых мы являемся. Каждый завод-производитель оснащен высокоэффективным оборудованием, которое позволяет контролировать весь технологический процесс на любой стадии производства. Изготавливаются железобетонные блоки экрана в соответствии с требованиями проектной документации Серия 3.501.1-144.1. Данная документация предусматривает для готового изделия строгое соответствие следующим требованиям:
- Жёсткость, прочность и устойчивость изделий к возникновению трещин
- Физическая прочность, водонепроницаемость и морозостойкость бетона
- Обязательная гидроизоляция изделий (защита от коррозии)
- Толщина защитного бетонного слоя, вплоть до арматуры
- Качественная арматура, соответствующая государственным стандартам
Изготавливаются блоки экрана путем формования изделий в горизонтальных металлических опалубках. Формование осуществляется двумя способами: методом вибрационного прессования либо методом вибрационного литья. Метод вибрационного прессования предполагает использование металлических форм, смазанных изнутри маслом, которые устанавливают в месте формовки, помещая в неё металлический каркас. Форма заполняется бетоном, в ходе этого процесса периодически запускают вибраторы, установленные внутри для равномерной усадки смеси. Такая технология позволяет бетону заполнить все пространство без каких-либо пустот и при этом обеспечить необходимую плотность готового ЖБИ изделия.
Метод вибрационного литья предполагает подготовку каркасных арматурных основ для железобетонных изделий: каркасные основы монтируют в формы для их последующей бетонной заливки. При использовании метода вибрационного литья бетонная смесь заливается в металлическую или металлопластиковую форму в несколько приемов. Укладка смеси выполняется глубинным вибратором, после чего её выравнивают в формах. В процессе изготовления осуществляется перемешивание смеси инструментом с фибровым волокном, сделанным из пластика или металла. После завершения заливки бетона, формы выдерживаются в сухом помещении до полного затвердения.
Главным документом любого изделия, изготовленного на ЖБИ заводе, является технический паспорт или сертификат качества, который выдается после проведенных испытаний на соответствие требованиям ГОСТ. В техническом паспорте содержится информация о маркировке изделия, дате его изготовления, номере партии и количестве изделий в ней, наименовании завода-производителя ЖБИ, марке и прочности бетона, показателях морозостойкости и водонепроницаемости, геометрических параметрах и весе готового изделия, а также номер ГОСТ, в соответствии с которым изготавливались блоки экрана. Кроме этого, на боковую сторону изделия наносится специальный маркировочный знак - штамп ОТК.
Преимущества покупки ЖБИ изделий в компании «ДСК-Столица»:
- Низкие цены
- Быстрое оформление заказа
- Изделия высокого уровня качества, полностью соответствующие ГОСТ
- Помощь в выборе, расширенные консультации от опытных специалистов
- Возможность произведения оплаты несколькими способами
Купить блоки экрана по выгодной цене с доставкой в любую точку РФ можно на нашем ЖБИ сайте. Для этого достаточно выбрать необходимые ЖБИ изделия и оформить заказ через личный кабинет.
Если у Вас возникли вопросы и требуется консультация - напишите в чат, позвоните или оставьте свой номер телефона для обратного звонка, наш оператор свяжется с Вами в течение нескольких минут!
Работаем 24/7
Получите консультацию
от наших экспертов
Планируете строительство?
Расчитаем вашу смету
по железобетонным изделиям
Напишите о заказе, дате, и месте доставки
Мобильное приложение ЖБИ
Более 100.000 изделий ЖБИ
Оформить заказ
* – обязательные для заполнения поля
Оформить заказ с доставкой
* – обязательные для заполнения поля
Кредит от Т-Банка
Для лиц старше 18 лет, паспорт РФ
* – обязательные для заполнения поля
Укажите адрес доставки
Адрес доставки
г. Москва